瑞丽首富董勒成“盛宴”谢幕,旗下苏南瑞丽航空22.24%股权被拍卖
瑞丽首富董勒成“盛宴”谢幕,旗下苏南瑞丽航空22.24%股权被拍卖
来自江苏省无锡市中级人民法院的信息显示,苏南瑞丽航空的22.2481%股权,6月19日~20日在阿里巴巴司法拍卖网络平台进行公开拍卖。

根据法院公告,该拍卖标的为董勒成持有,而董勒成正是苏南瑞丽航空的创始人。
苏南瑞丽航空原名瑞丽航空,该航司于2013年5月获民航局批准筹建,2014年2月,瑞丽航空获得民航局颁发的《公共航空运输企业经营许可证》,2014年5月,瑞丽航空顺利启航。
瑞丽航空成立之初,其股权结构为董勒成旗下的云南景成集团有限公司(下称“景成集团”)和董勒成分别持股70%和30%。作为云南首家本土航司, 开航后的瑞丽航空,总部和主运营基地均在云南(主运营基地设在云南昆明长水国际机场)。
资料显示,云南市场早前曾有六家基地航空公司,这之中,瑞丽航空市场份额排名第五。
具体到航线网络,据2018年10月昆明日报报道,彼时瑞丽航空机队规模已经达18架,开通国内航线51条,国际航线7条,其中,国际航线线涉及柬埔寨(金边、西港)和泰国(清莱、清迈)。
而审视董勒成,其出生于德宏州,早年辍学后开始创业,上世纪90年代在瑞丽开设景成商店,后扩大为瑞丽市景成集团有限公司。瑞丽景成集团成立后,业务扩大到旅游、工程建筑及房地产、矿产冶炼,2012年,瑞丽景成集团更名为云南景成集团。
2013年,董勒成组建瑞丽航空,其将此前成立的德宏公务机公司和景成直升机公司合并为南亚通用航空公司。次年,董勒成以30亿元财富登上胡润百富榜。2015年至2019年,董勒成连续入列胡润百富榜。
至于旗下的景成集团,该公司在2018年位列云南百强民企第12位,被百度推荐为金牌诚信企业,成为云南首家通过金牌诚企认证的集团公司。
景成集团曾于2016年在昆明市官渡区巫家坝重金拿地,计划建设景成大厦。按最初规划,该大厦高度为248.8米,其中地上57层、地下4层,计划总投资20亿元,包括五星级商务酒店、5A写字楼、综合商场及配套设施等。项目建成后,云南景成将把总部从瑞丽市搬迁至此。
或是受激进的多元化扩张所致,2019年初,景成集团被曝光存在资金难题,开始频繁拖欠工程款,部分房地产项目也陷入停滞。
随着2020年初疫情席卷全球,本已陷入资金困境的景成集团更显艰难,而旗下航空业务遭遇的冲击“不言而喻”。由于母公司难以对瑞丽航空提供“弹药”支援,瑞丽航空随后无奈易主。
2021年1月,瑞丽航空股权结构变更,公司原大股东景成集团的持股比例由70%降至13%,董勒成仍持股30%,无锡交通产业集团(无锡市国资委实控)以57%的持股比例,成为瑞丽航空新晋大股东。这也意味着,瑞丽航空由早前的民营控股,转变为地方国资控股。
2021年底和2023年3月,瑞丽航空又先后获得无锡国资企业的两次增资,董勒成和景成集团的直接持股分别降至22.2481%和9.6408%。
如今,易主满两年的瑞丽航空已更名苏南瑞丽,并开启了无锡、昆明双基地运营,但仍受董勒成及其景成集团债务困境拖累,多次被告上法庭。景成集团和董勒成所持瑞丽航空的股权,亦多次被司法冻结。

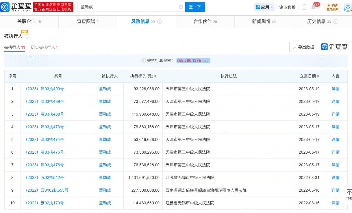
据企查查信息,截至目前,苏南瑞丽航空有17条被执行人信息,被执行总额为79186.5943万元;视线转向董勒成,截至目前,其身负3条限制高消费令,有11条被执行人信息,被执行总金额更是高达24.58亿元。
至于前文提及的景成大厦,2022年11月,昆明市官渡区自然资源区发布公示,称该宗地的批准用途为商务金融用地,项目未办理取得施工许可证,未动工开发满两年以上,官渡区会审认定为闲置土地,为企业自身行为造成。
-
- 关注“两会”:取消中考,高中三年变两年?
-
2026-02-26 17:01:35
-
- 本届奥斯卡绝了!赵喜娜全裸上台颁奖备受瞩目,前所未有的震撼
-
2026-02-26 16:59:21
-
- 33岁Angelababy低调庆生,杨幂倪妮零点送祝福,跑男仅王祖蓝出面
-
2026-02-26 16:57:07
-
- 周大福新代言人杜海涛!海报遭群嘲,代言人还没品牌知名度高!
-
2026-02-26 16:54:52
-
- 拥有世界影响力的“合肥四姐妹”,你听说过吗?
-
2026-02-26 16:52:38
-
- 艺食饭堂 | 随吃随做的路边摊锡纸烧烤合辑,干净卫生又解馋
-
2026-02-26 16:50:24
-
- 摄影入门基础大总结,看完你也是大师
-
2026-02-26 16:48:10
-
- 高鹏说药材:优势品种种植推荐—沙苑子、蒺藜、地骨皮
-
2026-02-26 16:45:55
-
- TVB无线五美之——黎美娴
-
2026-02-26 16:43:41
-
- 中华姓氏之——辛姓
-
2026-02-26 16:41:27
-
- 炸开喜马拉雅山?从小就好奇的问题,终于有答案了
-
2026-02-26 16:39:12
-
- 石家庄的这些景点美食不容错过
-
2026-02-26 16:36:58
-
- 山东空姐李明珠被顺风车司机杀害,作案过程曝光令人发指
-
2026-02-26 16:34:44
-
- 史上最全的人体各部位解剖全图,值得收藏
-
2026-02-11 09:01:25
-
- 潘铭允——温婉高雅,清新可人!
-
2026-02-11 08:59:11
-
- 煎饼果子3种面糊配方,真正的小吃技术,学会自己就可以摊煎饼
-
2026-02-11 08:56:57
-
- 佳联邀对,话题下联:浮生若梦梦浮生 ,诚邀上联?邀友留墨添香
-
2026-02-11 08:54:42
-
- 积木的分类、注意事项、好处有哪些?
-
2026-02-11 08:52:28
-
- 华为手机:荣耀对麦芒,谁是王中王?
-
2026-02-11 08:50:14
-
- 地理发现-福建省漳州市海豚环抱圆形震撼人工打造岛屿——双鱼岛
-
2026-02-11 08:48:00



屠洪刚的三个妻子照片大曝光 揭屠洪刚三段鲜为人知的婚姻
续三,手抄本少女的心,在那个年代传播的挺广,许多人偷偷的看了